The Extreme die-cast aluminium radiator consists of individual elements – sections connected to each other by means of nipples. Tightness at the joints of the sections is ensured by sealing gaskets. Painting is done by anaphoresis, with the final phase in the form of epoxy-polyester spraying. The result is a perfect white RAL 9016 finish on the radiator. The paint is applied to the entire surface of the radiators, both on the front and rear sides, as well as on the ends – between the fins.
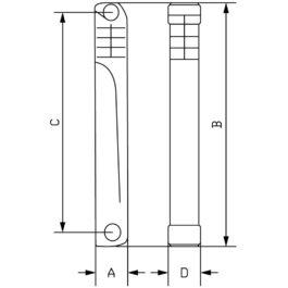
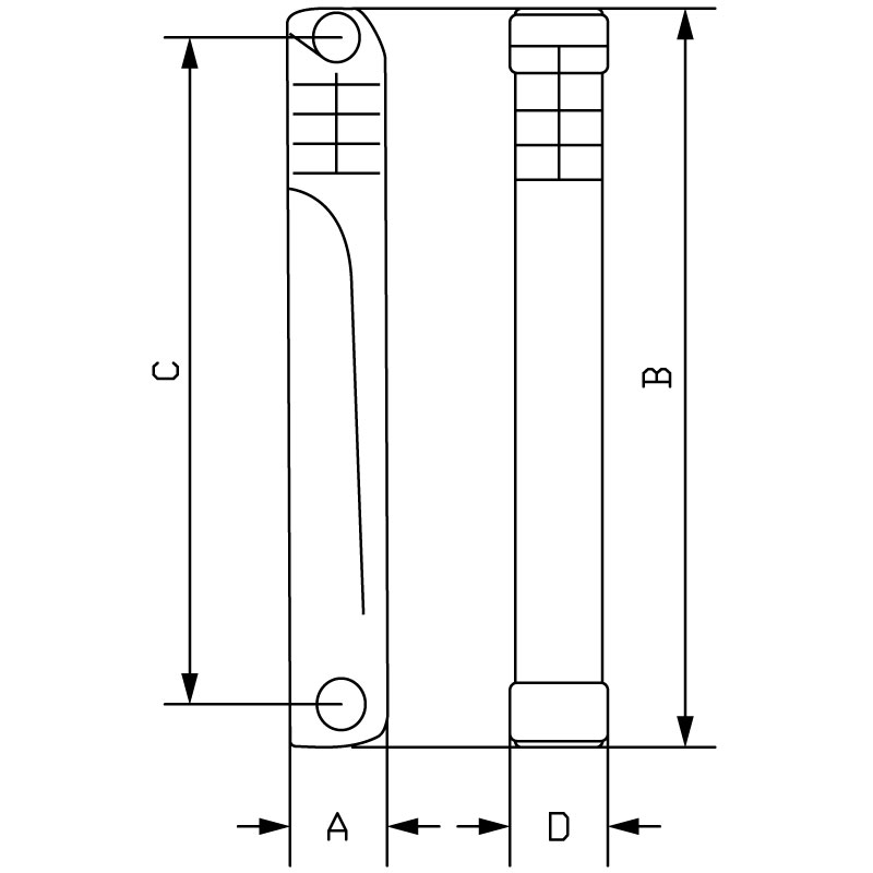
| Centre distance C, mm | 500 |
| Depth A, mm | 96 |
| Height B, mm | 585 |
| Width D, mm | 80 |
| Approximate weight, kg | 1,25 |
| Water capacity, l | 0,43 |
| Heat output, W | 186 |
| Maximal pressure, bar | 32 |
| Operating pressure, bar | 16 |
